遂环指〔2025〕1号
遂宁市生态环境事件指挥部
关于印发《遂宁市突发环境事件
应急预案》的通知
各县(市、区)人民政府、市直园区管委会,市直有关单位:
经市政府领导同意,现将修订后的《遂宁市突发环境事件应急预案》印发你们,请结合实际认真组织实施。
遂宁市生态环境事件指挥部
2025年2月25日
遂宁市突发环境事件
应急预案
遂宁市生态环境事件指挥部
2025年2月
目 录
1 总 则………………………………………………………6
1.1 修订目的…………………………………………………6
1.2 修订依据…………………………………………………6
1.3 适用范围…………………………………………………6
1.4 工作原则…………………………………………………7
1.5 响应分级与分级应对……………………………………8
2 组织指挥体系及职责………………………………………10
2.1 市指挥部组成及职责……………………………………10
2.2 市指挥部办公室及职责…………………………………11
2.3 市指挥部成员单位及职责………………………………11
2.4 市级现场指挥部组成及职责……………………………16
2.5 县(市、区)、市直园区应急指挥机构…………………20
2.6 企事业单位………………………………………………20
3 预防、监测和预警…………………………………………20
3.1 预防………………………………………………………20
3.2 监测和风险分析…………………………………………21
3.3 预警………………………………………………………21
4 应急处置…………………………………………………24
4.1 信息报告…………………………………………………24
4.2 响应实施…………………………………………………26
4.3 处置措施…………………………………………………27
4.4 应急终止…………………………………………………32
5 后期工作…………………………………………………33
5.1 事件调查…………………………………………………33
5.2 损害评估…………………………………………………33
5.3 善后处置…………………………………………………33
6 应急保障…………………………………………………33
6.1 队伍保障…………………………………………………33
6.2 物资和资金保障…………………………………………34
6.3 装备保障…………………………………………………34
6.4 通信、交通与运输保障…………………………………35
6.5 技术保障…………………………………………………35
7 预案管理…………………………………………………35
7.1 预案体系…………………………………………………35
7.2 编制及备案………………………………………………36
7.3 评估及演练………………………………………………37
8 培训与宣传………………………………………………37
9 责任与奖惩………………………………………………38
10 附则………………………………………………………38
10.1 预案解释………………………………………………38
10.2 预案实施………………………………………………38
附录……………………………………………………………39
附录1 国家突发环境事件分级标准………………………39
附录2 遂宁市突发生态环境事件应急处置工作流程……42
附录3 遂宁市突发生态环境事件应急指挥框架图………43
附录4 遂宁市生态环境事件指挥部成员单位联系方式…44
1 总 则
1.1 修订目的
以习近平生态文明思想为指导,深入贯彻落实习近平总书记关于防范化解重大风险的重要论述,坚持底线思维,规范我市突发生态环境事件应急管理和响应程序,科学有序高效应对突发生态环境事件,严密防控环境风险,保障公众生命健康和财产安全,维护生态环境安全和社会稳定。
1.2 修订依据
《中华人民共和国环境保护法》《中华人民共和国突发事件应对法》《突发事件应急预案管理办法》《国家突发环境事件应急预案》《突发环境事件应急管理办法》《四川省突发事件总体应急预案(试行)》《四川省突发生态环境事件应急预案(试行)》《四川省突发生态环境事件应急处置方案》《四川省突发生态环境事件应急响应工作手册》《遂宁市突发事件总体应急预案》等法律法规有关规定。
1.3 适用范围
本预案适用于遂宁市行政区域范围内发生的较大及以上的突发生态环境事件、跨县(市、区)、市直园区管委会或超出事发地县(市、区)人民政府、市直园区管委会处置能力的突发生态环境事件,以及发生在本市行政区域外但影响本市的突发生态环境事件的应对工作,指导全市突发生态环境事件的预防、预警和处置等工作。
本预案所称突发生态环境事件,是指由于污染物排放或自然灾害、生产安全事故、交通运输事故、公共卫生事件等因素,导致污染物或放射性物质等有毒有害物质进入大气、水体、土壤等环境介质,突然造成或可能造成环境质量下降,危及公众身体健康和财产安全的环境污染事件,或造成生态环境结构和功能发生变化,对生态环境本身发展产生不利影响的生态破坏事件,或造成重大社会影响,需要采取紧急环境应急措施予以应对的事件。
核设施及有关核活动发生的核事故所造成的辐射污染事件的应对工作和重污染天气应对工作按照其他相关应急预案规定执行。
1.4 工作原则
(1)以人为本,平战结合。牢固树立以人民为中心的发展思想和“人民至上、生命至上”的理念,把保障人民群众生命财产安全和身体健康作为首要任务,最大限度地减少突发生态环境事件及其造成的人员伤亡和危害。加强突发生态环境事件风险源监测、监控和监督管理,建立健全突发生态环境事件风险防范体系。做好预案、队伍、物资等应急准备。
(2)统一领导,分级负责。在市委、市政府统一领导下,实行“分类管理、分级负责、条块结合、属地为主”的应急管理体制。市政府统一领导全市范围内突发生态环境事件的预防、预警和处置工作,各县(市、区)人民政府、市直园区管委会履行主体责任,全面负责辖区突发生态环境事件的组织应对,及时启动应急响应,统一调度使用应急资源,积极动员社会各界力量广泛参与。事件发生地乡镇政府、街道办、企事业单位等按各自职责组织做好突发生态环境事件的应急准备、信息报告和先期处置等工作。
(3)加强联动,信息共享。建立联动协调机制,加强协同配合,完善环境应急监测网络,充分发挥部门、行业优势和专业救援力量的作用,建立健全由市政府牵头,主管部门负责,相关部门参与的突发生态环境事件应急处置体系,做到统一指挥、统一协调、密切配合、形成合力。充分整合、利用现有资源,实现资源信息共享,避免重复建设,降低行政成本。
(4)科学规范,处置有效。充分发挥专家学者在应急管理中的参谋作用,采用先进的监测、预警、预防和应急处置技术及设施,增强科学管理和指挥协调的能力。为突发生态环境事件的预警和处置提供技术支持,确保突发生态环境事件发生时能快速反应,科学处置。
1.5 响应分级与分级应对
1.5.1响应分级
根据可能发生的突发生态环境事件处置等级,应急响应由高到低依次划分为Ⅰ级、Ⅱ级、Ⅲ级、Ⅳ级,分别对应特别重大、重大、较大、一般突发生态环境事件(国家突发环境事件分级标准详见附录1)。
发生一般突发生态环境事件,由涉事县(市、区)人民政府、市直园区管委会主要负责同志决定,启动Ⅳ级响应,负责应对。
发生较大突发生态环境事件,由市政府主要负责同志决定,启动Ⅲ级响应,负责应对。
发生重大及以上突发生态环境事件,市政府立即开展先期处置工作并按照省政府的统一部署和要求,组织领导本行政区域范围内有关部门及地区开展突发生态环境事件应急处置工作;积极配合上级有关部门的现场调查、事件处置、应急监测等工作。
涉及市内跨县(市、区)、市直园区行政区域的,由涉事县(市、区)人民政府、市直园区管委会共同负责应对;涉及同一县(市、区)、市直园区内跨乡镇行政区域的,由涉事乡镇政府共同负责应对。
如突发生态环境事件本身比较敏感,或发生在重点地区、重要时期的,可视情况适当提高响应级别。
1.5.2分级应对
突发生态环境事件应对遵循分级负责、属地为主、层级响应、协调联动的原则。当突发生态环境事件超出属地人民政府、管委会应对能力时,由遂宁市人民政府提供支援或者负责应对。发生重大及以上突发生态环境事件,由市政府负责先期应对。当国务院、省政府指导协调和组织应对时,市级组织指挥机构按照要求具体组织实施。发生较大突发生态环境事件,由市政府负责应对,涉及跨市(州)行政区域的,在做好先期处置的同时,立即报请省级层面协调支援;发生一般突发生态环境事件,由事件发生地县(市、区)人民政府、市直园区管委会负责应对。县(市、区)、市直园区级层面负责应对的突发生态环境事件,必要时由市级层面主要牵头部门负责统一响应支援。
2 组织指挥体系及职责
遂宁市生态环境事件指挥部(以下简称市指挥部)是市应急委员会下设的专门负责处置突发生态环境事件的市级专项组织指挥机构,在市委、市政府领导下,负责统一组织、指挥和协调全市突发生态环境事件应急工作。
2.1 市指挥部组成及职责
指 挥 长:市政府分管副市长
副指挥长:市政府联系副秘书长
市生态环境局局长
市应急管理局局长
市级相关行业主管部门主要负责人
事发地县(市、区)人民政府、市直园区管委会
主要负责人
成员单位:四川省遂宁生态环境监测中心站、市委宣传部、市委网信办、市纪委监委机关、市发展改革委、市经济和信息化局、市公安局、市民政局、市财政局、市自然资源和规划局、市生态环境局、市住房和城乡建设局、市交通运输局、市水利局、市农业农村局、市卫生健康委、市应急管理局、市市场监管局、市林业局、市文化广电体育旅游局、市气象局、市消防救援支队、遂宁军分区、武警遂宁支队、遂宁电信公司、遂宁移动公司、遂宁联通公司、明星电力公司、万通燃气公司、中石油遂宁天然气净化有限公司等有关单位。
2.2 市指挥部办公室及职责
市指挥部办公室设在市生态环境局,市生态环境局局长兼任办公室主任,市生态环境局、市应急管理局、相关行业主管部门各1名分管副局长任办公室副主任。主要职责是:贯彻落实省委、省政府,市委、市政府及市应急委员会、省指挥部、市指挥部决策部署,协调做好日常事务和应急处置工作;牵头组织编制完善遂宁市突发生态环境事件应急预案;跟踪督办落实市指挥部会议议定事项;承担市指挥部日常事务和市指挥部交办的其他工作。
2.3 市指挥部成员单位及职责
市指挥部成员单位作为突发生态环境事件应急处置工作的参与单位和协作部门,根据职责分工分别承担相应的工作任务,完成市指挥部交办的职责范围内的其他事项。
四川省遂宁生态环境监测中心站:负责指导、组织辖区内突发生态环境事件的应急监测工作,确定污染范围和程度。
市委宣传部:负责指导突发生态环境事件及相关信息发布、新闻发布会召开和舆论引导,组织、指导新闻单位做好突发生态环境事件相关新闻宣传报道工作。
市委网信办:负责组织、指导突发生态环境事件相关网络舆情监测、分析研判、预警处置工作,为相关舆情回应稿件做好信息支撑。
市纪委监委机关:负责对突发生态环境事件应急处置工作中相关人员履行职责的情况实施监察;对事件调查处理工作进行监督,对在突发生态环境事件处理工作中失职、渎职等违纪违规行为进行责任追究。
市发展改革委:负责突发生态环境事件应急处置体系建设项目的审核立项;负责突发生态环境事件发生后市级救灾物资的调运,组织实施市级救灾物资的收储、轮换和日常管理,落实有关动用计划和指令。
市经济和信息化局:根据应急处置需要及事故性质,负责协调煤炭、成品油、天然气、电力、医药、医疗器械等救援物资、设备的紧急调用;负责分管行业突发生态环境事件的处置工作参与相关突发生态环境事件的调查和恢复工作。
市公安局:参与、协助环境污染与生态破坏、辐射事故、危化品、危险废物等突发生态环境事件的应急处置;负责应急响应时的治安、保卫、消防、交通管制和其他措施的落实,协助事发地政府、管委会组织人员疏散、撤离;负责控制事故直接责任人和追捕违法犯罪逃逸人员;负责丢失、被盗危化品和放射源的立案侦查和追缴;负责重大环境污染事故罪、破坏环境资源罪等立案侦查工作。
市民政局:负责突发生态环境事件中受灾群众的紧急转移、安置工作;负责对困难群众进行生活、医疗救助;组织、协调有关部门和社会团体开展社会捐助工作,接受、分配国内外企业、个人以及外国政府、境外组织捐助的资金和物资,做好款物管理和发放工作;协调做好伤亡人员的处理和其他善后工作。
市财政局:按照《遂宁市财政应急保障预案》规定,负责突发生态环境事件应急处置工作中由市级财政安排的经费保障及管理工作。
市自然资源和规划局:参与违法开采矿产资源等造成突发生态环境事件的应急处置工作,协助事发地县(市、区)人民政府、市直园区管委会开展地质环境修复工作。
市生态环境局:负责指导协调突发生态环境事件的应急处置工作,参与突发生态环境事件的控制;负责向市委、市政府,生态环境厅报告事件信息;组织技术专家提出污染物处置建议方案;负责组织一般突发生态环境事件调查;协助司法部门和纪检监察部门对突发生态环境事件责任单位和责任人进行责任追究;指导和监督污染物收集、清理与处理,受污染和破坏的生态环境恢复等。
市住房和城乡建设局:负责房屋市政在建工程、城市供水、城镇排水、城镇燃气、市容环卫等市政公用设施突发生态环境事件应急处置工作。
市交通运输局:负责交通事故引发的突发生态环境事件应急处置工作;负责其管辖水域水上交通事故、船舶及其有关作业产生的突发生态环境事件应急处置工作;协调通往突发生态环境事件现场公路、水路的保通工作,协调运力优先保障救援队伍、救援物资和伤病员的运输。
市水利局:参与涉水突发生态环境事件应急处置工作和事件调查工作;负责提供相关水文资料,协调河流的调水、配水;参与水利行业内水电站、水利工程及所管辖水库管理范围内发生的突发生态环境事件应急处置工作。
市农业农村局:参与涉及食品原产地突发生态环境事件应急处置工作;负责对农业环境污染、农业重大有害生物和外来有害生物入侵以及农作物病虫害等突发生态环境事件进行监测和处理;负责鱼类等水生生物死亡事件的调查处置工作;负责畜禽养殖业突发生态环境事件的应急处置工作;负责突发生态环境事件引发的动物疫情监测、调查、控制和扑灭工作。
市卫生健康委:负责医疗废物收集、运送、储存、处置活动中的疾病防治应急处置工作;组织协调医疗卫生机构,按照《遂宁市突发公共事件相关医疗卫生救援应急预案》开展医疗卫生救援工作。
市应急管理局:组织、协调危险化学品和生产安全事故次生的突发生态环境事件应急处置工作,协助核查生产安全事故涉及的危险化学品种类和数量;统一协调指挥各类应急专业队伍,会同市发改委等部门建立健全应急物资信息平台和调拨制度,在救灾时统一调度;参与事件调查与总结评估;检查、指导应急预案工作落实;指导相关应急指挥平台建设。
市市场监管局:参与维护突发生态环境事件应急期间市场秩序;参与涉及特种设备突发生态环境事件的调查;参与指导与食品药品有关的突发生态环境事件应急处置和调查处理工作。
市林业局:负责外来林业和草原有害生物的监测、预防、治理,以及较大林业和草原突发生态环境事件应急处置。
市文化广电体育旅游局:在突发生态环境事件应急过程中,配合相关部门加强正面舆论引导工作。
市气象局:根据突发生态环境事件应急处置的需要,负责提供有关气象监测预报服务;必要时在突发生态环境事件区域加密可移动气象监测,提供现场预测预报信息并适时开展人工影响天气作业。
市消防救援支队:参与污染物泄漏、爆炸、燃烧等造成或可能造成众多人员急性中毒或较大社会危害的灾难事件的抢险救援。
遂宁军分区和武警遂宁支队:根据突发生态环境事件应急处置工作的需要和《军队参加抢险救灾条例》的规定,协调组织驻遂部队、武警部队参与突发生态环境事件的应急处置工作。
遂宁电信公司、遂宁移动公司、遂宁联通公司:负责突发生态环境事件应急处置中的通信保障工作。
明星电力公司:负责事故现场电力的供、断控制工作。
中石油遂宁天然气净化有限公司、万通燃气公司:负责事故现场燃气的供、断控制及压力管道和压力容器的安全处置工作。
事发地所在县(市、区)人民政府、市直园区管委会:负责本行政区域突发生态环境事件的先期处置工作,及时上报相关信息;根据市指挥部的工作要求,组织开展人员疏散、污染控制等具体措施落实;组织实施突发生态环境事件的善后处置工作和生态修复工程;做好相关应急保障工作,妥善应对处置本辖区突发生态环境事件。
未列入本预案的部门(单位),按照市指挥部的命令履行职责,不得推诿。
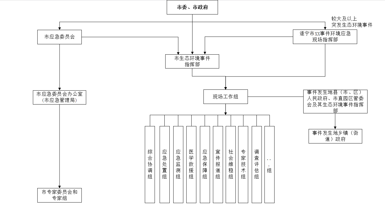
2.4 市级现场指挥部组成及职责
较大及以上突发生态环境事件发生后,市指挥部根据应急工作需要视情况成立现场指挥部,设立若干现场工作组,各组组长由牵头单位负责同志担任。市指挥部可根据事件应对需要增减工作组。
(1)综合协调组
由市生态环境局、市应急管理局牵头,市委宣传部、市经济和信息化局、市公安局、市交通运输局、市卫生健康委和涉事相关县(市、区)人民政府、市直园区管委会组成。
主要职责:承担突发生态环境事件现场应急处置综合协调工作,协调指挥长、副指挥长组织实施突发生态环境事件应急处置工作;负责收集汇总事件进展情况以及社(舆)情等信息;承办市指挥部会议、活动和文电工作;负责现场指挥部后勤保障工作;完成市指挥部交办的其他任务。
(2)应急处置组
由市生态环境局、市应急管理局和涉事相关行业主管部门牵头,市公安局、市民政局、市自然资源和规划局、市水利局、市卫生健康委、市消防救援支队、遂宁军分区、武警遂宁支队和涉事相关县(市、区)人民政府、市直园区管委会组成。
主要职责:负责组织技术研判和事态分析,提出应急处置方案;调配救援队伍、装备和物资,组织采取有效措施,迅速切断污染源,消除或减轻已经造成的污染;指导做好事件影响区域有关人员的紧急转移和临时安置工作,明确现场处置人员的个人防护措施;组织落实相关企业停、限产措施;完成市指挥部交办的其他任务。
(3)应急监测组
由四川省遂宁市生态环境监测中心站、市生态环境局牵头,市公安局、市自然资源和规划局、市住房城乡建设局、市水利局、市应急管理局、市林业局、市气象局和涉事相关县(市、区)人民政府、市直园区管委会组成。
主要职责:负责根据突发生态环境事件的污染物种类、性质以及当地气象、自然、社会环境状况等,组织编制应急监测方案,确定污染物扩散范围,明确监测的布点、频次及监测分工;组织开展大气、水体、土壤等应急监测,组织开展事件发生地相关水域水文监测、气象监测等其他监测工作,为突发生态环境事件应急决策提供依据;完成市指挥部交办的其他任务。
(4)医学救援组
由市卫生健康委牵头,市经济和信息化局、市农业农村局、市林业局和涉事相关县(市、区)人民政府、市直园区管委会组成。
主要职责:负责组织协调卫生部门开展医疗救护、卫生防疫等紧急医学救援工作;指导和协助开展受污染地区人员的去污洗消工作,提出保护公众健康的措施建议;对突发生态环境事件引发的动物疫情进行监测、调查、控制及扑灭;完成市指挥部交办的其他任务。
(5)应急保障组
由市应急管理局、市经济和信息化局牵头,市发展改革委、市公安局、市民政局、市财政局、市生态环境局、市住房城乡建设局、市交通运输局、市水利局、市消防救援支队和涉事相关县(市、区)人民政府、市直园区管委会组成。
主要职责:组织做好应急救援物资及临时安置重要物资的紧急生产、储备调拨和紧急配送工作;负责事件应对市级经费保障,对受灾群众进行基本生活救助;负责现场应急处置工作人员食宿等基本生活保障;完成市指挥部交办的其他任务。
(6)宣传报道组
由市委宣传部牵头,市委网信办、市公安局、市生态环境局、市文化广电体育旅游局和涉事相关县(市、区)人民政府、市直园区管委会组成。
主要职责:负责组织指导开展事件进展、应急处置工作情况等权威信息发布,加强新闻宣传报道;收集分析舆情和社会公众动态,正确引导舆论;采取多种方式,通俗、权威、全面、前瞻地做好相关知识普及;坚持事件处置和舆情处置同步安排、同步实施、同步落实,及时澄清不实信息,回应社会关切;完成市指挥部交办的其他任务。
(7)社会维稳组
由市公安局牵头,市交通运输局、市市场监管局和涉事相关县(市、区)人民政府、市直园区管委会组成。
主要职责:负责事发地周边安全警戒,疏散突发生态环境事件发生区域的人员;实施交通管制和交通疏导,保障救援道路畅通;保护现场,维护现场秩序;查处违法犯罪活动;加强对重要生活必需品等商品的市场监管和调控;完成市指挥部交办的其他任务。
(8)专家技术组
由市生态环境局牵头,市环境应急专家库专家组成。
主要职责:参与指导现场应急处置工作,为市指挥部提供分析评估、决策咨询和处置意见建议。
(9)调查评估组
由市生态环境局牵头,市纪委监委机关、市公安局、市自然资源和规划局、市住房城乡建设局、市交通运输局、市水利局、市农业农村局、市应急管理局、市林业局、市消防救援支队和涉事相关县(市、区)人民政府、市直园区管委会组成。
主要职责:深入调查事件发生原因,出具调查结论,评估事件影响,提出事件防范意见;负责追究造成突发生态环境事件责任单位和责任人的行政责任;调查处理应急处置工作中有关违规违纪行为;完成市指挥部交办的其他任务。
2.5 县(市、区)、市直园区应急指挥机构
各县(市、区)人民政府、市直园区管委会分别成立生态环境事件指挥部,按照各自职责,规范本行政区域内突发生态环境事件的防控、应对和善后工作。事件发生后,事件发生地政府、管委会应成立现场指挥部,负责指挥、协调现场处置工作,有关情况及时向市指挥部报告。
2.6 企事业单位
企事业单位是本单位环境安全的责任主体,必须严格落实《中华人民共和国环境保护法》《中华人民共和国突发事件应对法》等法律法规规定,健全应急机制,编制突发环境事件应急预案并备案,做好与遂宁市各级人民政府突发生态环境事件应急预案的衔接,落实防控、预警和处置措施,整治环境安全隐患,强化应急保障,定期开展演练。事件发生后,按规定及时报告事件信息,组织本单位救援力量在第一时间科学开展应急处置。
3 预防、监测和预警
3.1 预防
各县(市、区)人民政府、市直园区管委会和市级有关部门依职责开展突发生态环境事件的预防工作。督促有关企事业单位落实环境安全主体责任,建立健全环境安全管理制度,做好突发生态环境事件风险识别、评估和防控工作,定期排查治理环境隐患,配备相应的物资、装备、器材、工具,定期开展检验性演练,整改存在问题。
企事业单位在新、改、扩建项目,单位人事变动,原辅材料等环境风险物质和应急装备、物资发生变更等相关情况后,应及时组织开展环境风险和应急资源再评估,修订应急预案并备案。
3.2 监测和风险分析
市、县(市、区)、市直园区指挥部有关成员单位要加强日常监测监管。生态环境部门应实时收集、分析和研判可能导致突发生态环境事件的风险信息;应急管理、交通运输、公安、住建、水利、农业农村、卫生健康、气象等有关部门应按照职责分工,及时将可能导致突发生态环境事件的信息通报同级生态环境部门。
企事业单位和其他生产经营者应健全监测预警和风险防控体系,完善监测监控制度,实时监测监控污染风险,依法依规将突发生态环境事件有关信息上报属地生态环境部门及负有生态环境保护职责的有关部门。
3.3 预警
按照紧急程度、发展态势和可能造成的危害程度,我市突发生态环境事件预警行动对应事件划分一级(特别严重)、二级(严重)、三级(较重)、四级(一般),依次用红色、橙色、黄色和蓝色标示。
3.3.1 预警发布
对可以预警的突发生态环境事件或可能引发次生环境污染的突发事件,市、县(市、区)两级生态环境部门在接到相关征兆信息后,及时组织分析评估,研判发生的可能性、强度和影响范围以及可能发生的事件级别,向同级政府提出预警发布建议。事件发生地政府应当按规定及时发布预警信息,组织有关部门密切关注事态发展,并及时向上级政府报告。
预警信息可通过广播、电视、通信网络等公共媒体,或组织人员逐户通知等方式发布。信息内容主要包括:发布机关、发布时间、可能发生的事件类别、起始时间、可能影响范围、预警级别、警示事项、事态发展、相关应对措施、咨询电话等。
3.3.2 预警行动
当发布蓝色、黄色预警时,事件发生地政府、市直园区管委会及有关部门应当采取以下措施:
(1)立即启动突发生态环境事件应急预案;
(2)要求有关部门及时收集、报告相关信息,向社会公布反映环境污染信息的渠道,加强对突发生态环境事件发生、发展情况的监测、预警和预报工作;
(3)适时组织对相关信息进行分析评估,预测发生突发生态环境事件的可能性、影响范围和强度以及可能发生事件的级别;
(4)发布预警公告,宣布进入预警期,向上级政府报告,并及时向社会发布与公众有关的预测信息、分析评估结果、可能受到的危害、避免和减轻危害的措施以及咨询电话。
当发布橙色、红色预警时,除采取上述措施外,还应该采取下列措施:
(1)转移、疏散可能受到危害的人员并妥善安置,转移重要财产,对特殊人群采取优先或针对性的措施;
(2)视情况对可能导致环境污染事件发生的有关企事业单位实行停运、限产、停产等相应措施,封闭、隔离或限制使用有关场所,中止或限制可能导致危害扩大的行为和活动;
(3)要求应急救援处置队伍、负有特定职责的人员进入待命状态,并动员后备人员准备参加应急救援和处置工作;
(4)调集应急处置和救援所需物资、设备、工具,准备应急设施和避难场所;
(5)加强对重点单位、关键部位和重要设施的安全保卫,维护社会治安秩序;
(6)采取必要措施,确保交通、通信、供水、排水、供电、供气、供热等公共设施的安全和正常运行;
(7)视情况向下游或可能受影响地区的政府发送预警信息;
(8)采取法律、法规、规章规定的其他必要的防范性、保护性措施。
3.3.3 预警级别的调整和预警解除
发布突发生态环境事件预警的政府,应当根据事态发展情况和采取措施的效果适时调整预警级别并重新发布。
经查实不会发生突发生态环境事件或危险已经解除的,已发布预警的政府应当及时宣布解除预警,并终止有关措施。
4 应急处置
4.1 信息报告
4.1.1 程序和时限
市生态环境局要全面掌握全市较大及以上突发生态环境事件信息,了解一般突发生态环境事件信息;较大及以上突发生态环境事件信息要及时报送市委、市政府,经市政府同意后报送生态环境厅。县(市、区)人民政府、市直园区管委会及其生态环境部门要全面掌握本行政区域内各类突发生态环境事件信息并及时报送市政府及市生态环境局。事件本身比较敏感,或发生在重点地区、重要时期,或可能演化为特别重大、重大突发生态环境事件的,报送时不受突发环境事件分级标准限制。
企事业单位、其他组织或者个人获悉或初步判断可能引发突发生态环境事件时,应当及时向所在地政府、管委会及其生态环境部门报告相关信息。事件发生地生态环境部门在发现或者得知突发生态环境事件信息后,应当立即核实,对突发生态环境事件的性质和类别做出初步认定,按规定及时向本级政府和上级生态环境部门报告;对涉及重大及以上突发生态环境事件的,同时报生态环境部。各级政府及其生态环境部门接到突发生态环境事件信息后,按规定立即向上级政府及其生态环境部门报告,严格落实“30分钟内电话报告,1小时内书面报告”,不得迟报、谎报、瞒报和漏报。处置过程中事件级别发生变化的,应当按照变化后的级别报告信息。
发生下列突发生态环境事件,一时无法判明等级时,事件发生地生态环境部门应当按照重大或者特别重大突发生态环境事件的要求,及时按程序上报。
(1)对饮用水水源保护区造成或可能造成影响的;
(2)涉及居民聚居区、学校、医院等敏感区域和敏感人群的;
(3)涉及重金属或类金属污染的;
(4)可能造成跨省影响的;
(5)因环境污染可能引发群体性事件,或社会影响较大的;
(6)事件发生地生态环境部门认为有必要报告的其他事件。
4.1.2 内容与方式
突发生态环境事件信息报告分为初报、续报和终报。初报在发现或得知突发生态环境事件信息后首次上报;续报在查清有关基本情况、事件发展情况后随时上报;终报在事件处置完毕后上报。
初报应当报告突发生态环境事件的发生时间、地点、信息来源、事件起因和性质、基本过程、主要污染物和数量、监测数据、人员伤亡情况、饮用水水源地等环境敏感点受影响情况、事件发展趋势、处置情况、拟采取的措施以及下一步工作等初步情况,并提供可能受到事件影响的环境敏感点分布示意图。
续报应当在初报的基础上,详细报告处置进展情况。
终报应当在初报和续报的基础上,报告处置突发生态环境事件的措施、过程和结果,事件潜在或间接危害以及损失、社会影响、遗留问题、责任追究等详细情况。
突发生态环境事件信息应当书面报告,情况紧急时,初报可通过电话报告,但应当及时补充书面报告。书面报告中应当写明突发生态环境事件报告单位、报告签发人、联系人及联系方式等内容,并提供地图、图片等相关资料。
4.1.3 信息通报
突发生态环境事件已经或可能涉及相邻行政区域的,事件发生地政府及其生态环境部门应当及时通报相邻同级政府及其生态环境部门。接到通报的政府及其生态环境部门应当及时调查了解情况,并按照规定报告事件相关信息。
突发生态环境事件中伤亡、失踪、被困人员有港、澳、台人员或外国人,或者事件可能影响到境外的,由辖区外事办按《遂宁市涉外突发事件应急预案》规定报市政府外事办。
4.2 响应实施
突发生态环境事件的应急响应以事发地政府、市直园区管委会为主,第一时间启动响应,组织指挥应急处置,超出本级应急处置能力时,向上级政府请求增援。
4.2.1 特别重大、重大突发生态环境事件的应急响应
特别重大、重大突发生态环境事件发生后,在事发地县(市、区)人民政府、市直园区管委会和涉事单位行业主管部门组织开展先期处置的基础上,市指挥部实行扩大响应,由市政府主要领导组织、协调、指挥开展应急处置,控制事态,防止引发次生、衍生事件。同时按照“边响应,边报告”的原则,按信息报告程序向省生态环境事件指挥部报告。省级预案启动后,在省政府的统一领导和指挥下,按照分工积极做好突发生态环境事件的应对处置工作。
4.2.2 较大突发生态环境事件的应急响应
较大突发生态环境事件发生后,事发地县(市、区)人民政府、市直园区管委会和涉事单位行业主管部门立即组织开展先期处置,控制事态,防止引发次生、衍生事件。市级预案启动后,由市指挥部现场组织、协调、指挥应急处置工作。必要时请求省级层面技术支持和指导。
4.2.3 一般突发生态环境事件的应急响应
一般突发生态环境事件发生后,事发地县(市、区)人民政府、市直园区管委会立即启动本级突发生态环境事件应急预案,组织开展应急处置工作,及时向市政府和市指挥部报告突发生态环境事件和应急处置工作情况,必要时可请求市政府和市级相关部门提供技术、物资、设备、人员等支持和援助。
4.3 处置措施
突发较大及以上生态环境事件发生后,县(市、区)人民政府、市直园区管委会、有关部门(单位)应根据工作需要,组织采取以下措施。
4.3.1 先期处置
事发企事业单位应当立即启动突发生态环境事件应急预案,尽可能切断和控制污染源,通报可能受到污染危害的单位和居民,按规定向县(市、区)人民政府、市直园区管委会及其行业主管部门、生态环境部门报告。
事发地县(市、区)人民政府、市直园区管委会接到信息报告后,要快速开展处置工作,及时切断污染源,全力控制事件态势,避免污染物扩散,严防发生二次污染和次生、衍生灾害。
4.3.2 应急监测
现场指挥部根据事件污染物性质和事件发生地水文、气象、地域等情况,制定应急监测方案,全程开展环境应急监测,出具环境应急监测报告,研判污染范围、程度和发展趋势。
加强大气、水体、土壤等应急监测工作。突发生态环境事件发生时,根据事件的严重性、紧急程度和可能波及的范围分级启动突发生态环境事件应急监测工作。事件发生初期,四川省遂宁生态环境监测中心站根据突发环境事件污染的扩散速度和事件发生地的气象、水文和地域特点迅速制订应急监测方案,确定污染扩散范围,布设相应数量的监测点位,并根据污染物的扩散情况和监测结果的变化趋势及时调整监测方案。专家组根据应急监测数据综合分析,查明污染物种类、污染程度、范围以及污染发展趋势,提出处理建议,为应急处置提供决策依据。
4.3.3 专家研判
现场环境应急专家根据监测结果、污染物性质及其对环境的影响等情况,提出应急处置建议方案,评估处置效果。
4.3.4 决策实施
现场指挥部研判确定现场处置方案,明确责任分工,组织实施污染源切断、控制和处理,保障供水安全等现场应急处置措施,并规范收集、分类贮存各类废弃物。根据处置效果,动态调整方案并实施,直至应急终止。
各类突发生态环境事件的应急处置,应充分听取专家意见,不断调整和优化方案,采用监测和模拟等手段追踪污染物扩散途径和范围,采用转移异地处置、临时修改调整污染处置工艺或临时建设污染处置工程等方法处置污染物。必要时,要求其他排污单位停产、限产、限排,减轻环境污染负荷。
(1)水体污染处置措施
水体污染突发生态环境事件发生后,由涉事单位行业主管部门、生态环境部门、有关部门(单位)、事发地县(市、区)人民政府、市直园区管委会迅速查明和切断污染源,并根据气象、水文、地理环境以及不同类型的水污染事件特点等,开展水体污染扩散趋势分析,确定污染扩散范围和影响程度。对已外溢的污染物采取拦截、导流、疏浚等方式,防止水体污染的扩大;采取中和、沉淀、分解、吸附、打捞、微生物降解、水利调蓄等方式,消除水体污染,并防止应急处置废水引起二次污染。
涉及饮用水污染的,市住建、水利、生态环境、卫生健康等部门及事发地所在县(市、区)人民政府、市直园区管委会要积极做好饮用水安全保障工作。
(2)大气污染处置措施
大气污染突发生态环境事件发生后,由涉事单位行业主管部门、生态环境部门、有关部门(单位)、事发地县(市、区)人民政府、市直园区管委会迅速查明和切断污染源,并根据气象部门提供的气象信息,开展大气污染扩散趋势分析,确定污染扩散范围和影响程度;采取关闭、封堵、喷淋等措施减轻大气污染,并防止应急处置废水引起二次污染。必要时,事发地县(市、区)人民政府、市直园区管委会及时组织疏散受到大气污染物影响的人员。
(3)土壤污染处置措施
土壤污染突发生态环境事件发生后,由涉事单位行业主管部门、生态环境部门、有关部门(单位)、事发地县(市、区)人民政府、市直园区管委会迅速查明和切断污染源,并根据住建、自规、农业农村、林业竹业等部门提供的土地信息,开展土壤污染扩散趋势分析,确定污染扩散范围和影响程度;采取隔离、吸附、去污洗消、临时收储、转移异地处置或临时建设污染处置工程等措施开展有效处置工作,消除环境影响。
(4)危险化学品泄漏突发生态环境事件处置
危险化学品泄漏突发生态环境事件发生后,由危险化学品行业主管部门、生态环境部门、有关部门(单位)、事发地县(市、区)人民政府、市直园区管委会做好安全防护措施,划定警戒区域,迅速查找定位泄漏源,并根据危险化学品化学性质、反应特性和危害信息以及事发地的气象、水文、地理环境、人员密集度,确定危害范围、程度和人员疏散方式,明确现场处置注意事项,如严禁烟火、防毒防爆、进入现场方式等。应迅速采取关闭有关阀门、停止作业、补修和堵塞泄漏容器等措施,制止或延缓化学品持续泄漏。采取覆盖、收容、稀释、化学处理等措施对已泄漏的化学品进行安全处置,严防引发二次污染。将收集到的泄漏化学品、被污染水、覆盖物及其他处置物资,统一运送到危废处理厂进行处置后,解除应急状态。
4.3.5 物资保障
现场指挥部视情启用本级政府储备的应急物资,必要时依法征用其他急需物资、设备、设施、工具。
4.3.6 信息发布
市委宣传部统筹、组织和指导舆论引导工作,涉事县(市、区)人民政府、市直园区管委会和市生态环境等部门负责收集事件基本信息,起草新闻通稿和报道口径,提供事件处置进展信息,根据授权接受媒体采访、发布相关信息,做好相关舆论工作。突发环境事件新闻信息的发布按照《遂宁市突发公共事件新闻发布应急预案》相关要求进行。
4.3.7 舆论引导
现场指挥部要及时准确掌握舆论态势,统筹做好舆论引导工作,加强线上线下相关舆情监测和重点流域、区域的巡逻巡防,主动回应群众关切,维护社会稳定。
未经现场指挥部批准,参与突发生态环境事件应急处置工作的各有关单位和个人不得擅自对外发布事件原因、环境质量监测数据、伤亡数字、责任追究等相关信息。任何企事业单位和个人不得编造、传播有关突发生态环境事件事态发展或应急处置工作的虚假信息。
4.3.8 安全防护
现场处置救援人员应配备相应的专业防护装备,采取必要的安全防护措施,严格执行出入事发现场程序和范围。需要组织群众安全疏散撤离时,现场指挥部应按规定设立紧急避难场所,并告知群众应采取的安全防护措施。
4.4 应急终止
4.4.1 应急终止的条件
当事件得到有效控制,污染物质浓度已降至规定限值内,或相关威胁和危害得到控制、消除后,可终止响应。
4.4.2 应急终止的程序
现场指挥部组织实施综合评估,经启动应急响应的最高级别政府同意后,向参与处置的各专业应急救援队伍下达应急终止命令,并组织做好跟踪监测和后期工作。
5 后期工作
5.1 事件调查
按照《突发环境事件调查处理办法》及有关法律法规的规定开展事件调查,查明事件原因、性质,提出处理建议,落实整改措施,总结经验教训,防止类似事件再次发生。
5.2 损害评估
应急终止后,在启动响应最高级别政府的统一部署下,由相应级别生态环境部门按照有关规定组织开展污染损害评估,并向社会公布评估结论。评估结论作为事件调查处理、损害赔偿、环境修复和生态恢复的依据。
5.3 善后处置
事发地县(市、区)人民政府、市直园区管委会对突发生态环境事件造成伤亡的人员应及时进行医疗救助或给予抚恤,对生产生活困难的群众进行妥善安置;对紧急调集、征用的人力、物力按规定给予补偿;及时下达救助资金和物资,做好疫病防治、环境污染清除、生态恢复等工作;事件责任企业应协助事发地人民政府承担相应的环境修复和生态恢复重建工作;保险监管部门督促各保险企业依据“重合同、守信用、应赔尽赔”的原则,积极开展理赔工作,按保险合同及时理赔。
6 应急保障
6.1 队伍保障
市本级和属地要加强环境应急队伍建设,建立由环境应急管理、应急监测、专家及应急处置力量等组成的专业应急队伍。加强日常培训和管理,提升队伍实战能力。根据需要,参照省、市建立环境应急专家库。
使用危险化学品的化工企业要依法建立应急救援队伍。
对于危险化学品等相对集中的县(市、区)、市直园区应在统筹规划、整合资源的基础上建立危险化学品等专业应急队伍。
6.2 物资和资金保障
构建市、县(市、区)、园区、企业四级物资储备体系。不断加强市级环境应急物资储备库建设;县(市、区)、市直园区及其有关部门可采取实物储备、协议储备和信息储备等方式,加强辖区内环境应急物资储备,并督促重点风险企业完善物资储备。同时,要全面掌握辖区内社会化物资储备情况和物资生产厂商产能情况,形成持续供应能力。
市、各县(市、区)人民政府、市直园区应当将突发生态环境事件防范和应对工作所需经费纳入同级财政预算,并加强资金管理,提高资金使用绩效。突发生态环境事件应急处置所需经费由事件责任单位或肇事人承担。需政府财政负担的经费,按照现行事权、财权划分原则,分级负担,为突发生态环境事件应急处置工作提供资金保障。
6.3 装备保障
市指挥部负责指导建立共享的救援装备调用制度,专业应急机构掌握专业的特种救援装备,保障应急状态及时调用。
县(市、区)人民政府、市直园区管委会和市级有关部门要加强对重点地区、重点流域和领域的救援力量组织、装备配备,尤其要加强突发生态环境事件应急处置过程中的环境监测、监察等专用设备和应急监测车的配备。
6.4 通信、交通与运输保障
市、县(市、区)人民政府、市直园区管委会要强化应急后勤保障组织工作;通信主管部门要建立健全应急通信保障体系,确保突发生态环境事件应急期间通信联络和信息传递需要;交通运输部门要依职责健全公路、水运紧急运输保障体系,保障应急响应所需人员、物资、装备、器材等的运输;公安部门要加强应急交通管制,保障运送伤病员、应急救援人员、物资、装备、器材的车辆优先通行。
6.5 技术保障
市指挥部,各县(市、区)、市直园区指挥部及其成员单位要按照各自职责,加强对现场处置先进技术、装备的研究,建立健全环境应急处置技术库,推动环境应急指挥信息化,提高应急处置实效。
7 预案管理
7.1 预案体系
《遂宁市突发生态环境事件应急预案》是《四川省突发生态环境事件应急预案(试行)》《遂宁市突发事件总体应急预案》的子预案,与《遂宁市安全生产事故应急预案》《遂宁市危险化学品事故应急预案》《遂宁市道路交通事故应急预案》等其他专项预案、各级政府突发生态环境事件应急预案、部门预案,各类园区和企事业单位突发生态环境事件应急预案,重点流域、饮用水水源地突发水污染事件应急预案以及为应急预案提供支撑的响应方案和工作手册等共同构成遂宁市突发生态环境事件应急预案体系。
指挥部成员单位应根据本预案制定突发环境事件部门预案,或者在部门预案中增加突发环境事件应急相关内容或制定现场处置工作方案;环境风险企业应根据本预案制定企业相关应急工作方案或应急处置卡。
预案体系关系图见下图。

7.2 编制及备案
突发生态环境事件应急预案应当在风险评估和应急资源调查的基础上编制,编制过程中应广泛听取有关部门、单位、社会组织和专家意见,并开展评审或论证,同时做好与上级专项预案、遂宁市总体预案以及部门预案衔接。预案印发后,应在20个工作日内按规定向上一级生态环境部门备案,并抄送上一级应急管理部门。
7.3 评估及演练
市指挥部应当建立定期评估制度,分析评价预案内容的针对性、实用性和可操作性,实现应急预案的动态优化和科学规范管理。当有下列情形之一的,应当及时完善修订应急预案,并上报市政府,经审定后印发实施。
(1)有关法律、行政法规、规章、标准、上位预案中的有关规定发生变化的;
(2)应急指挥机构及其职责发生重大调整的;
(3)面临的风险发生重大变化的;
(4)重要应急资源发生重大变化的;
(5)预案中的其他重要信息发生变化的;
(6)在突发事件实际应对和应急演练中发现问题需要作出重大调整的;
(7)应急预案制定单位认为应当修订的其他情况。
建立应急演练制度,根据实际情况采取实战演练、桌面推演等方式,组织开展人员广泛参与处置联动性强、形式多样、节约高效的应急演练。每2年至少组织开展1次预案演练。
8 培训与宣传
市政府及其有关部门要加强环境应急管理宣传和教育培训工作。新闻媒体应当无偿开展突发生态环境事件预防与应急、自救与互救知识的公益宣传。企事业单位应当定期开展环境应急管理法律法规以及应急知识等方面的教育与培训。
9 责任与奖惩
根据有关规定,将突发生态环境事件应对处置工作纳入生态环境保护党政同责目标考核。对迟报、谎报、瞒报和漏报突发生态环境事件重要情况,应急处置不力,或者环境应急管理工作中有其他失职、渎职行为的,依法依规追究责任。对在突发生态环境事件应急处置工作中反应迅速、措施妥当、贡献突出的集体,给予表扬。
10 附则
10.1 预案解释
本预案由遂宁市生态环境局(遂宁市生态环境事件指挥部办公室)负责解释。
10.2 预案实施
本预案自印发之日起实施。2020年6月8日遂宁市生态环境事件指挥部印发的《遂宁市突发环境事件应急预案》(遂环指〔2020〕1号)同时废止。
附录1
国家突发环境事件分级标准
一、特别重大突发环境事件
凡符合下列情形之一的,为特别重大突发环境事件:
1.因环境污染直接导致30人以上死亡或100人以上中毒或重伤的;
2.因环境污染疏散、转移人员5万人以上的;
3.因环境污染造成直接经济损失1亿元以上的;
4.因环境污染造成区域生态功能丧失或该区域国家重点保护物种灭绝的;
5.因环境污染造成设区的市级以上城市集中式饮用水水源地取水中断的;
6.Ⅰ、Ⅱ类放射源丢失、被盗、失控并造成大范围严重辐射污染后果的;放射性同位素和射线装置失控导致3人以上急性死亡的;放射性物质泄漏,造成大范围辐射污染后果的;
7.造成重大跨国境影响的境内突发环境事件。
二、重大突发环境事件
凡符合下列情形之一的,为重大突发环境事件:
1.因环境污染直接导致10人以上30人以下死亡或50人以上100人以下中毒或重伤的;
2.因环境污染疏散、转移人员1万人以上5万人以下的;
3.因环境污染造成直接经济损失2000万元以上1亿元以下的;
4.因环境污染造成区域生态功能部分丧失或该区域国家重点保护野生动植物种群大批死亡的;
5.因环境污染造成县级城市集中式饮用水水源地取水中断的;
6.Ⅰ、Ⅱ类放射源丢失、被盗的;放射性同位素和射线装置失控导致3人以下急性死亡或者10人以上急性重度放射病、局部器官残疾的;放射性物质泄漏,造成较大范围辐射污染后果的;
7.造成跨省级行政区域影响的突发环境事件。
三、较大突发环境事件
凡符合下列情形之一的,为较大突发环境事件:
1.因环境污染直接导致3人以上10人以下死亡或10人以上50人以下中毒或重伤的;
2.因环境污染疏散、转移人员5000人以上1万人以下的;
3.因环境污染造成直接经济损失500万元以上2000万元以下的;
4.因环境污染造成国家重点保护的动植物物种受到破坏的;
5.因环境污染造成乡镇集中式饮用水水源地取水中断的;
6.Ⅲ类放射源丢失、被盗的;放射性同位素和射线装置失控导致10人以下急性重度放射病、局部器官残疾的;放射性物质泄漏,造成小范围辐射污染后果的;
7.造成跨设区的市级行政区域影响的突发环境事件。
四、一般突发环境事件
凡符合下列情形之一的,为一般突发环境事件:
1.因环境污染直接导致3人以下死亡或10人以下中毒或重伤的;
2.因环境污染疏散、转移人员5000人以下的;
3.因环境污染造成直接经济损失500万元以下的;
4.因环境污染造成跨县级行政区域纠纷,引起一般性群体影响的;
5.Ⅳ、Ⅴ类放射源丢失、被盗的;放射性同位素和射线装置失控导致人员受到超过年剂量限值的照射的;放射性物质泄漏,造成厂区内或设施内局部辐射污染后果的;铀矿冶、伴生矿超标排放,造成环境辐射污染后果的;
6.对环境造成一定影响,尚未达到较大突发环境事件级别的。
上述分级标准有关数量的表述中,“以上”含本数,“以下”不含本数。
《国家突发环境事件应急预案》新修订后分级标准有调整的,按照修订后的标准执行。
附录2 遂宁市突发生态环境事件应急处置工作流程

附录3 遂宁市突发生态环境事件应急指挥框架图
附录4 遂宁市生态环境事件指挥部成员单位联系方式
序号 | 单位 | 联系人 | 职务 | 办公电话 | 移动电话 | 备注 | |
1 | 市委宣传部 | 分管领导 | 梁 柯 | 副主任 | 2222308 | 15983066993 | 市委外宣办 |
联络员 | 文利华 | 科长 | 2988792 | 15881939826 | 新闻外宣科 | ||
2 | 市纪委监委机关 | 分管领导 | 卢俊德 | 市纪委常委、市监委委员 | 2221992 | 15983085533 | |
联络员 | 王 杨 | 主任 | 2222508 | 13518365677 | 市纪委监委第一纪检监察室 | ||
3 | 市委网信办 | 分管领导 | 李 明 | 副主任 | 2238199 | 13002835200 | |
联络员 | 黄家权 | 副主任 | 2988759 | 13438961649 | 网络舆情中心 | ||
4 | 市发展改革委 | 分管领导 | 袁 敏 | 党组成员、副主任 | 2988217 | 13909066636 | |
联络员 | 邓月铭 | 科长 | 2269897 | 15196946187 | 环资科 | ||
5 | 市经济和信息化局 | 分管领导 | 谭止戈 | 党组成员、副局长 | 2222619 | 18190208935 | |
联络员 | 倪 薇 | 科长 | 2299629 | 15808255077 | 环资科 | ||
6 | 市公安局 | 分管领导 | 陈 良 | 副局长 | 2510017 | 13882570999 | |
联络员 | 陈 川 | 副支队长 | 3181317 | 13982542044 | 森林警察支队 | ||
7 | 市民政局 | 分管领导 | 彭 军 | 副局长 | 2325555 | 18081281699 | |
联络员 | 何文杰 | 主任 | 2325678 | 13909062229 | 办公室 | ||
8 | 市自然资源和规划局 | 分管领导 | 张 志 | 副局长 | 2316171 | 13882559799 | |
联络员 | 唐肇廷 | 科长 | 2310216 | 13909063719 | 生态修复科 | ||
9 | 市生态环境局 | 分管领导 | 李小龙 | 环保总监 | 2391669 | 13568727666 | |
联络员 | 郑宇杰 | 副主任 | 2323570 | 18080700137 | 市生态环境安全应急中心 | ||
10 | 四川省遂宁生态环境监测中心站 | 分管领导 | 蒋红斌 | 副站长 | 3180970 | 13550775502 | |
联络人员 | 陈 明 | 主任 | 2392665 | 18282535019 | 现场应急监测室 | ||
11 | 市住房城乡建设局 | 分管领导 | 张 庆 | 副局长 | 无 | 15882545235 | |
联络员 | 蒋 松 | 科长 | 无 | 15082556066 | 环境治理科 | ||
12 | 市交通运输局 | 分管领导 | 刘永志 | 安全总监 | 无 | 13882536789 | |
联络员 | 卢椿林 | 负责人 | 无 | 15390320825 | 安全应急科 | ||
13 | 市水利局 | 分管领导 | 杨 林 | 主任 | 无 | 13982501816 | 市河湖保护管理中心 |
联络员 | 金迎春 | 负责人 | 无 | 15983060457 | 河湖管理科 | ||
14 | 市农业农村局 | 分管领导 | 陈 勇 | 副局长 | 无 | 13882552411 | |
联络员 | 黄李银 | 科长 | 无 | 15388371144 | 乡村建设促进科 | ||
15 | 市卫生健康委 | 分管领导 | 邓成立 | 副主任 | 无 | 13982528898 | |
联络员 | 何 源 | 负责人 | 无 | 13982555315 | 医疗应急科 | ||
16 | 市应急管理局 | 分管领导 | 杨金全 | 副局长 | 3206012 | 13982511119 | |
联络员 | 姚云林 | 科长 | 无 | 18728500666 | 应急救援科 | ||
17 | 市市场监管局 | 分管领导 | 李 玲 | 副局长 | 2321808 | 13629085678 | |
联络员 | 杨丽斯 | 科长 | 2378917 | 15082557817 | 药品安全监管科 | ||
联络员 | 李 琴 | 科长 | 2328018 | 13882503988 | 医疗器械管理科 | ||
18 | 市林业局 | 分管领导 | 舒玉明 | 副局长 | 无 | 13909060602 | |
联络员 | 姚 玲 | 站长 | 无 | 18011176192 | 市森林病虫防治检疫站 | ||
19 | 市文化广电体育旅游局 | 分管领导 | 邓 正 | 副局长 | 2392505 | 18982507303 | |
联络员 | 罗 平 | 副科长 | 2328206 | 18982500567 | 市场管理科 | ||
20 | 市气象局 | 分管领导 | 许正义 | 副局长 | 2299892 | 18982590733 | |
联络员 | 唐 兰 | 科长 | 无 | 13388353322 | 业务科 | ||
21 | 市公安消防支队 | 分管领导 | 李连胜 | 副支队长 | 2680006 | 15282594666 | |
联络员 | 王继征 | 科长 | 2680010 | 15196930377 | 作战训练科 | ||
22 | 武警遂宁支队 | 分管领导 | 李 健 | 参谋长 | 2257557 | 13795888255 | |
联络员 | 杨 林 | 股长 | 2257577 | 18398171033 | 作训股 | ||