政府信息公开

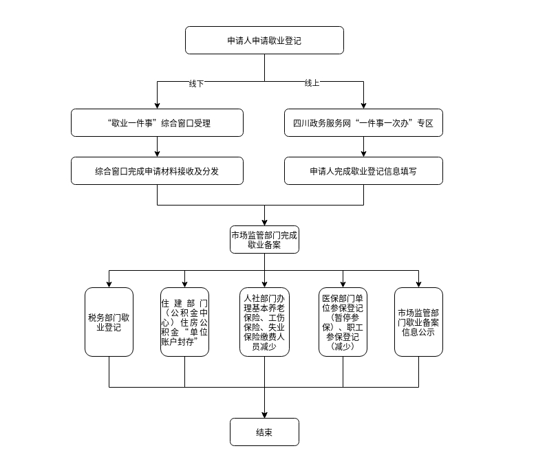
市场主体“歇业一件事”办理流程图

来源:国家级遂宁经济技术开发区 发布时间:2023-07-26 09:44 浏览次数: 字体: [ ] 收藏 打印

扫一扫在手机打开当前页
Baidu
map